Inner Components for 2016 Toyota 4Runner
Vehicle
2016 Toyota 4Runner
Change Vehicle
Categories
- Aero Ground Effects & Body Kits
- Brackets, Flanges & Hangers
- Bumper
- Bumper & Components - Front
- Bumper & Components - Rear
- Center Console
- Center Pillar & Rocker
- Cluster & Switches
- Console
- Control Cables
- Control Modules
- Cowl
- Dashboard
- Door & Components
- Doors
- Driver Seat Components
- Ducts
- Exterior Trim - Fender
- Exterior Trim - Front Door
- Exterior Trim - Hood
- Exterior Trim - Lift Gate
- Exterior Trim - Pillars
- Exterior Trim - Quarter Panel
- Exterior Trim - Rear Door
- Exterior Trim - Roof
- Fender & Components
- Fenders
- Floor
- Frame
- Frame & Components
- Front Door
- Gaskets & Sealing Systems
- Gate & Hardware
- Glass - Front Door
- Glass - Lift Gate
- Glass - Rear Door
- Glass - Windshield
- Glass & Hardware
- Glass, Windows & Related Components
- Glove Box
- Grille
- Grille & Components
- Hardware, Fasteners & Fittings
- Hinge Pillar
- Hood
- Hood & Components
- Horns
- Information Labels
- Inner Components
- Inner Structure
- Instrument Panel
- Instrument Panel Components
- Interior Trim
- Interior Trim - Front Door
- Interior Trim - Pillars
- Interior Trim - Quarter Panels
- Interior Trim - Rear Body
- Interior Trim - Rear Door
- Interior Trim - Roof
- Jack & Components
- Labels
- Liftgate
- Lock & Hardware
- Luggage Carrier
- Master Cylinder - Components On Dash Panel
- Mirrors
- Outside Mirrors
- Overhead Console
- Passenger Seat Components
- Quarter Panel
- Quarter Panel & Components
- Radiator Support
- Rear Body
- Rear Door
- Rear Floor & Rails
- Reveal Moldings
- Rocker Panel
- Roof
- Roof & Components
- Roof Rack
- Running Board
- Seat Belt
- Seats
- Second Row Seats
- Sensors
- Side Body
- Side Pillar
- Sound System
- Spoiler
- Steering Wheel
- Sunroof
- Switches, Solenoids & Actuators
- Tracks & Components
- Trailer Hitch Components
- Truck Box
- Trunk Lid & Compartment
- Wiper & Washer Components
- ABS Components
- Anti-Lock Brakes
- Body Wiring Harness & Components
- Brackets, Flanges & Hangers
- Brake Components
- Brake Hydraulics
- Disc Pads & Brake Shoes
- Drums & Rotors
- Front Brakes
- Gaskets & Sealing Systems
- Hardware, Fasteners & Fittings
- Hoses & Pipes
- Hydraulic System
- Parking Brake
- Rear Brakes
- Sensors
- Service Kits
- Stability Control
- Traction Control
- Vacuum Booster
- ABS Components
- Air Bag Components
- Air Bag System
- Alternator
- Alternator/Generator & Related Components
- Antenna & Radio
- Anti-Theft Components
- Anti-Theft System
- Battery
- Battery & Related Components
- Brackets, Flanges & Hangers
- Bulbs - Chassis
- Communication System Components
- Control Modules
- Doors
- Electrical Components
- Electrical Connectors
- Electrical Sockets
- Flasher Units, Fuses, & Circuit Breakers
- Flashers
- Fog Lamps
- Front Door
- Front Seat Belts
- Fuse & Relay
- Gaskets & Sealing Systems
- Glass, Windows & Related Components
- Hardware, Fasteners & Fittings
- Headlamp Components
- Heated Seats
- High Mounted Stop Lamp
- Horn
- Ignition Lock
- Ignition System
- Information Labels
- Instruments & Gauges
- Keyless Entry Components
- Lane Departure Warning
- License Lamps
- Liftgate
- Lighting - Exterior
- Lighting - Instrumentation
- Lighting - Interior
- Mirrors
- Mobile Multi-Media
- Navigation System
- Navigation System Components
- Parking Aid
- Power Outlets
- Power Seats
- Powertrain Control
- Rear Door
- Relays
- Second Row Seat Belts
- Senders
- Sensors
- Starter
- Starter & Related Components
- Sunroof
- Switches
- Switches, Solenoids & Actuators
- Tail Lamps
- Tire Pressure Monitor Components
- Wipers
- Wire, Cable & Related Components
- Wiring Harness
- Air Intake
- Bearings
- Brackets, Flanges & Hangers
- Bushings
- Control Modules
- Cylinder Block Components
- Engine
- Engine & Trans Mounting
- Engine Appearance Cover
- Engine Parts
- Filters
- Gaskets & Sealing Systems
- Hardware, Fasteners & Fittings
- Mounts
- Oil Cooler
- Oil Pan
- Oil Pump
- Switches, Solenoids & Actuators
- Valve Train Components
- Wire, Cable & Related Components
- A/C Accumulator/Receiver Drier
- A/C Clutch & Compressor
- A/C Condenser & Evaporator
- A/C Flow Restrictors
- Automatic Temperature Controls
- Blower Motor & Fan
- Brackets, Flanges & Hangers
- Condenser, Compressor & Lines
- Controls
- Evaporator & Heater Components
- Filters
- Gaskets & Sealing Systems
- Hardware, Fasteners & Fittings
- Heater
- Hoses & Pipes
- HVAC Case
- Motors, Core, Case & Related Components
- Sensors
- Switches & Sensors
- Switches, Solenoids & Actuators
- Wire, Cable & Related Components
- Brackets, Flanges & Hangers
- Control Modules
- Gaskets & Sealing Systems
- Hardware, Fasteners & Fittings
- P/S Pump & Hoses
- Power Steering Hoses, Pumps, & Related Components
- Pump & Hoses
- Shroud, Switches & Levers
- Steering Column
- Steering Column Assembly
- Steering Gear & Linkage
- Steering Wheel
- Steering Wheel & Trim
- Steering, Gear & Related Components
- Switches, Solenoids & Actuators
- Wire, Cable & Related Components
- Axle Housing
- Brackets, Flanges & Hangers
- Bushings
- Carrier & Front Axles
- Front Suspension
- Gaskets & Sealing Systems
- Hardware, Fasteners & Fittings
- Parking Brake
- Rear Suspension
- Ride Control
- Shocks & Struts
- Stabilizer Bar & Components
- Struts & Components
- Suspension Components
- Suspension, Springs & Related Components
- Upper Control Arm
- Wheels
- Aero Ground Effects & Body Kits
- Brackets, Flanges & Hangers
- Bumper
- Bumper & Components - Front
- Bumper & Components - Rear
- Center Console
- Center Pillar & Rocker
- Cluster & Switches
- Console
- Control Cables
- Control Modules
- Cowl
- Dashboard
- Door & Components
- Doors
- Driver Seat Components
- Ducts
- Exterior Trim - Fender
- Exterior Trim - Front Door
- Exterior Trim - Hood
- Exterior Trim - Lift Gate
- Exterior Trim - Pillars
- Exterior Trim - Quarter Panel
- Exterior Trim - Rear Door
- Exterior Trim - Roof
- Fender & Components
- Fenders
- Floor
- Frame
- Frame & Components
- Front Door
- Gaskets & Sealing Systems
- Gate & Hardware
- Glass - Front Door
- Glass - Lift Gate
- Glass - Rear Door
- Glass - Windshield
- Glass & Hardware
- Glass, Windows & Related Components
- Glove Box
- Grille
- Grille & Components
- Hardware, Fasteners & Fittings
- Hinge Pillar
- Hood
- Hood & Components
- Horns
- Information Labels
- Inner Components
- Inner Structure
- Instrument Panel
- Instrument Panel Components
- Interior Trim
- Interior Trim - Front Door
- Interior Trim - Pillars
- Interior Trim - Quarter Panels
- Interior Trim - Rear Body
- Interior Trim - Rear Door
- Interior Trim - Roof
- Jack & Components
- Labels
- Liftgate
- Lock & Hardware
- Luggage Carrier
- Master Cylinder - Components On Dash Panel
- Mirrors
- Outside Mirrors
- Overhead Console
- Passenger Seat Components
- Quarter Panel
- Quarter Panel & Components
- Radiator Support
- Rear Body
- Rear Door
- Rear Floor & Rails
- Reveal Moldings
- Rocker Panel
- Roof
- Roof & Components
- Roof Rack
- Running Board
- Seat Belt
- Seats
- Second Row Seats
- Sensors
- Side Body
- Side Pillar
- Sound System
- Spoiler
- Steering Wheel
- Sunroof
- Switches, Solenoids & Actuators
- Tracks & Components
- Trailer Hitch Components
- Truck Box
- Trunk Lid & Compartment
- Wiper & Washer Components
- ABS Components
- Anti-Lock Brakes
- Body Wiring Harness & Components
- Brackets, Flanges & Hangers
- Brake Components
- Brake Hydraulics
- Disc Pads & Brake Shoes
- Drums & Rotors
- Front Brakes
- Gaskets & Sealing Systems
- Hardware, Fasteners & Fittings
- Hoses & Pipes
- Hydraulic System
- Parking Brake
- Rear Brakes
- Sensors
- Service Kits
- Stability Control
- Traction Control
- Vacuum Booster
- ABS Components
- Air Bag Components
- Air Bag System
- Alternator
- Alternator/Generator & Related Components
- Antenna & Radio
- Anti-Theft Components
- Anti-Theft System
- Battery
- Battery & Related Components
- Brackets, Flanges & Hangers
- Bulbs - Chassis
- Communication System Components
- Control Modules
- Doors
- Electrical Components
- Electrical Connectors
- Electrical Sockets
- Flasher Units, Fuses, & Circuit Breakers
- Flashers
- Fog Lamps
- Front Door
- Front Seat Belts
- Fuse & Relay
- Gaskets & Sealing Systems
- Glass, Windows & Related Components
- Hardware, Fasteners & Fittings
- Headlamp Components
- Heated Seats
- High Mounted Stop Lamp
- Horn
- Ignition Lock
- Ignition System
- Information Labels
- Instruments & Gauges
- Keyless Entry Components
- Lane Departure Warning
- License Lamps
- Liftgate
- Lighting - Exterior
- Lighting - Instrumentation
- Lighting - Interior
- Mirrors
- Mobile Multi-Media
- Navigation System
- Navigation System Components
- Parking Aid
- Power Outlets
- Power Seats
- Powertrain Control
- Rear Door
- Relays
- Second Row Seat Belts
- Senders
- Sensors
- Starter
- Starter & Related Components
- Sunroof
- Switches
- Switches, Solenoids & Actuators
- Tail Lamps
- Tire Pressure Monitor Components
- Wipers
- Wire, Cable & Related Components
- Wiring Harness
- Air Intake
- Bearings
- Brackets, Flanges & Hangers
- Bushings
- Control Modules
- Cylinder Block Components
- Engine
- Engine & Trans Mounting
- Engine Appearance Cover
- Engine Parts
- Filters
- Gaskets & Sealing Systems
- Hardware, Fasteners & Fittings
- Mounts
- Oil Cooler
- Oil Pan
- Oil Pump
- Switches, Solenoids & Actuators
- Valve Train Components
- Wire, Cable & Related Components
- A/C Accumulator/Receiver Drier
- A/C Clutch & Compressor
- A/C Condenser & Evaporator
- A/C Flow Restrictors
- Automatic Temperature Controls
- Blower Motor & Fan
- Brackets, Flanges & Hangers
- Condenser, Compressor & Lines
- Controls
- Evaporator & Heater Components
- Filters
- Gaskets & Sealing Systems
- Hardware, Fasteners & Fittings
- Heater
- Hoses & Pipes
- HVAC Case
- Motors, Core, Case & Related Components
- Sensors
- Switches & Sensors
- Switches, Solenoids & Actuators
- Wire, Cable & Related Components
- Brackets, Flanges & Hangers
- Control Modules
- Gaskets & Sealing Systems
- Hardware, Fasteners & Fittings
- P/S Pump & Hoses
- Power Steering Hoses, Pumps, & Related Components
- Pump & Hoses
- Shroud, Switches & Levers
- Steering Column
- Steering Column Assembly
- Steering Gear & Linkage
- Steering Wheel
- Steering Wheel & Trim
- Steering, Gear & Related Components
- Switches, Solenoids & Actuators
- Wire, Cable & Related Components
- Axle Housing
- Brackets, Flanges & Hangers
- Bushings
- Carrier & Front Axles
- Front Suspension
- Gaskets & Sealing Systems
- Hardware, Fasteners & Fittings
- Parking Brake
- Rear Suspension
- Ride Control
- Shocks & Struts
- Stabilizer Bar & Components
- Struts & Components
- Suspension Components
- Suspension, Springs & Related Components
- Upper Control Arm
- Wheels
Browse Categories
Select category
- Aero Ground Effects & Body Kits
- Brackets, Flanges & Hangers
- Bumper
- Bumper & Components - Front
- Bumper & Components - Rear
- Center Console
- Center Pillar & Rocker
- Cluster & Switches
- Console
- Control Cables
- Control Modules
- Cowl
- Dashboard
- Door & Components
- Doors
- Driver Seat Components
- Ducts
- Exterior Trim - Fender
- Exterior Trim - Front Door
- Exterior Trim - Hood
- Exterior Trim - Lift Gate
- Exterior Trim - Pillars
- Exterior Trim - Quarter Panel
- Exterior Trim - Rear Door
- Exterior Trim - Roof
- Fender & Components
- Fenders
- Floor
- Frame
- Frame & Components
- Front Door
- Gaskets & Sealing Systems
- Gate & Hardware
- Glass - Front Door
- Glass - Lift Gate
- Glass - Rear Door
- Glass - Windshield
- Glass & Hardware
- Glass, Windows & Related Components
- Glove Box
- Grille
- Grille & Components
- Hardware, Fasteners & Fittings
- Hinge Pillar
- Hood
- Hood & Components
- Horns
- Information Labels
- Inner Components
- Inner Structure
- Instrument Panel
- Instrument Panel Components
- Interior Trim
- Interior Trim - Front Door
- Interior Trim - Pillars
- Interior Trim - Quarter Panels
- Interior Trim - Rear Body
- Interior Trim - Rear Door
- Interior Trim - Roof
- Jack & Components
- Labels
- Liftgate
- Lock & Hardware
- Luggage Carrier
- Master Cylinder - Components On Dash Panel
- Mirrors
- Outside Mirrors
- Overhead Console
- Passenger Seat Components
- Quarter Panel
- Quarter Panel & Components
- Radiator Support
- Rear Body
- Rear Door
- Rear Floor & Rails
- Reveal Moldings
- Rocker Panel
- Roof
- Roof & Components
- Roof Rack
- Running Board
- Seat Belt
- Seats
- Second Row Seats
- Sensors
- Side Body
- Side Pillar
- Sound System
- Spoiler
- Steering Wheel
- Sunroof
- Switches, Solenoids & Actuators
- Tracks & Components
- Trailer Hitch Components
- Truck Box
- Trunk Lid & Compartment
- Wiper & Washer Components
- ABS Components
- Anti-Lock Brakes
- Body Wiring Harness & Components
- Brackets, Flanges & Hangers
- Brake Components
- Brake Hydraulics
- Disc Pads & Brake Shoes
- Drums & Rotors
- Front Brakes
- Gaskets & Sealing Systems
- Hardware, Fasteners & Fittings
- Hoses & Pipes
- Hydraulic System
- Parking Brake
- Rear Brakes
- Sensors
- Service Kits
- Stability Control
- Traction Control
- Vacuum Booster
- ABS Components
- Air Bag Components
- Air Bag System
- Alternator
- Alternator/Generator & Related Components
- Antenna & Radio
- Anti-Theft Components
- Anti-Theft System
- Battery
- Battery & Related Components
- Brackets, Flanges & Hangers
- Bulbs - Chassis
- Communication System Components
- Control Modules
- Doors
- Electrical Components
- Electrical Connectors
- Electrical Sockets
- Flasher Units, Fuses, & Circuit Breakers
- Flashers
- Fog Lamps
- Front Door
- Front Seat Belts
- Fuse & Relay
- Gaskets & Sealing Systems
- Glass, Windows & Related Components
- Hardware, Fasteners & Fittings
- Headlamp Components
- Heated Seats
- High Mounted Stop Lamp
- Horn
- Ignition Lock
- Ignition System
- Information Labels
- Instruments & Gauges
- Keyless Entry Components
- Lane Departure Warning
- License Lamps
- Liftgate
- Lighting - Exterior
- Lighting - Instrumentation
- Lighting - Interior
- Mirrors
- Mobile Multi-Media
- Navigation System
- Navigation System Components
- Parking Aid
- Power Outlets
- Power Seats
- Powertrain Control
- Rear Door
- Relays
- Second Row Seat Belts
- Senders
- Sensors
- Starter
- Starter & Related Components
- Sunroof
- Switches
- Switches, Solenoids & Actuators
- Tail Lamps
- Tire Pressure Monitor Components
- Wipers
- Wire, Cable & Related Components
- Wiring Harness
- Air Intake
- Bearings
- Brackets, Flanges & Hangers
- Bushings
- Control Modules
- Cylinder Block Components
- Engine
- Engine & Trans Mounting
- Engine Appearance Cover
- Engine Parts
- Filters
- Gaskets & Sealing Systems
- Hardware, Fasteners & Fittings
- Mounts
- Oil Cooler
- Oil Pan
- Oil Pump
- Switches, Solenoids & Actuators
- Valve Train Components
- Wire, Cable & Related Components
- A/C Accumulator/Receiver Drier
- A/C Clutch & Compressor
- A/C Condenser & Evaporator
- A/C Flow Restrictors
- Automatic Temperature Controls
- Blower Motor & Fan
- Brackets, Flanges & Hangers
- Condenser, Compressor & Lines
- Controls
- Evaporator & Heater Components
- Filters
- Gaskets & Sealing Systems
- Hardware, Fasteners & Fittings
- Heater
- Hoses & Pipes
- HVAC Case
- Motors, Core, Case & Related Components
- Sensors
- Switches & Sensors
- Switches, Solenoids & Actuators
- Wire, Cable & Related Components
- Brackets, Flanges & Hangers
- Control Modules
- Gaskets & Sealing Systems
- Hardware, Fasteners & Fittings
- P/S Pump & Hoses
- Power Steering Hoses, Pumps, & Related Components
- Pump & Hoses
- Shroud, Switches & Levers
- Steering Column
- Steering Column Assembly
- Steering Gear & Linkage
- Steering Wheel
- Steering Wheel & Trim
- Steering, Gear & Related Components
- Switches, Solenoids & Actuators
- Wire, Cable & Related Components
- Axle Housing
- Brackets, Flanges & Hangers
- Bushings
- Carrier & Front Axles
- Front Suspension
- Gaskets & Sealing Systems
- Hardware, Fasteners & Fittings
- Parking Brake
- Rear Suspension
- Ride Control
- Shocks & Struts
- Stabilizer Bar & Components
- Struts & Components
- Suspension Components
- Suspension, Springs & Related Components
- Upper Control Arm
- Wheels
- Aero Ground Effects & Body Kits
- Brackets, Flanges & Hangers
- Bumper
- Bumper & Components - Front
- Bumper & Components - Rear
- Center Console
- Center Pillar & Rocker
- Cluster & Switches
- Console
- Control Cables
- Control Modules
- Cowl
- Dashboard
- Door & Components
- Doors
- Driver Seat Components
- Ducts
- Exterior Trim - Fender
- Exterior Trim - Front Door
- Exterior Trim - Hood
- Exterior Trim - Lift Gate
- Exterior Trim - Pillars
- Exterior Trim - Quarter Panel
- Exterior Trim - Rear Door
- Exterior Trim - Roof
- Fender & Components
- Fenders
- Floor
- Frame
- Frame & Components
- Front Door
- Gaskets & Sealing Systems
- Gate & Hardware
- Glass - Front Door
- Glass - Lift Gate
- Glass - Rear Door
- Glass - Windshield
- Glass & Hardware
- Glass, Windows & Related Components
- Glove Box
- Grille
- Grille & Components
- Hardware, Fasteners & Fittings
- Hinge Pillar
- Hood
- Hood & Components
- Horns
- Information Labels
- Inner Components
- Inner Structure
- Instrument Panel
- Instrument Panel Components
- Interior Trim
- Interior Trim - Front Door
- Interior Trim - Pillars
- Interior Trim - Quarter Panels
- Interior Trim - Rear Body
- Interior Trim - Rear Door
- Interior Trim - Roof
- Jack & Components
- Labels
- Liftgate
- Lock & Hardware
- Luggage Carrier
- Master Cylinder - Components On Dash Panel
- Mirrors
- Outside Mirrors
- Overhead Console
- Passenger Seat Components
- Quarter Panel
- Quarter Panel & Components
- Radiator Support
- Rear Body
- Rear Door
- Rear Floor & Rails
- Reveal Moldings
- Rocker Panel
- Roof
- Roof & Components
- Roof Rack
- Running Board
- Seat Belt
- Seats
- Second Row Seats
- Sensors
- Side Body
- Side Pillar
- Sound System
- Spoiler
- Steering Wheel
- Sunroof
- Switches, Solenoids & Actuators
- Tracks & Components
- Trailer Hitch Components
- Truck Box
- Trunk Lid & Compartment
- Wiper & Washer Components
- ABS Components
- Anti-Lock Brakes
- Body Wiring Harness & Components
- Brackets, Flanges & Hangers
- Brake Components
- Brake Hydraulics
- Disc Pads & Brake Shoes
- Drums & Rotors
- Front Brakes
- Gaskets & Sealing Systems
- Hardware, Fasteners & Fittings
- Hoses & Pipes
- Hydraulic System
- Parking Brake
- Rear Brakes
- Sensors
- Service Kits
- Stability Control
- Traction Control
- Vacuum Booster
- ABS Components
- Air Bag Components
- Air Bag System
- Alternator
- Alternator/Generator & Related Components
- Antenna & Radio
- Anti-Theft Components
- Anti-Theft System
- Battery
- Battery & Related Components
- Brackets, Flanges & Hangers
- Bulbs - Chassis
- Communication System Components
- Control Modules
- Doors
- Electrical Components
- Electrical Connectors
- Electrical Sockets
- Flasher Units, Fuses, & Circuit Breakers
- Flashers
- Fog Lamps
- Front Door
- Front Seat Belts
- Fuse & Relay
- Gaskets & Sealing Systems
- Glass, Windows & Related Components
- Hardware, Fasteners & Fittings
- Headlamp Components
- Heated Seats
- High Mounted Stop Lamp
- Horn
- Ignition Lock
- Ignition System
- Information Labels
- Instruments & Gauges
- Keyless Entry Components
- Lane Departure Warning
- License Lamps
- Liftgate
- Lighting - Exterior
- Lighting - Instrumentation
- Lighting - Interior
- Mirrors
- Mobile Multi-Media
- Navigation System
- Navigation System Components
- Parking Aid
- Power Outlets
- Power Seats
- Powertrain Control
- Rear Door
- Relays
- Second Row Seat Belts
- Senders
- Sensors
- Starter
- Starter & Related Components
- Sunroof
- Switches
- Switches, Solenoids & Actuators
- Tail Lamps
- Tire Pressure Monitor Components
- Wipers
- Wire, Cable & Related Components
- Wiring Harness
- Air Intake
- Bearings
- Brackets, Flanges & Hangers
- Bushings
- Control Modules
- Cylinder Block Components
- Engine
- Engine & Trans Mounting
- Engine Appearance Cover
- Engine Parts
- Filters
- Gaskets & Sealing Systems
- Hardware, Fasteners & Fittings
- Mounts
- Oil Cooler
- Oil Pan
- Oil Pump
- Switches, Solenoids & Actuators
- Valve Train Components
- Wire, Cable & Related Components
- A/C Accumulator/Receiver Drier
- A/C Clutch & Compressor
- A/C Condenser & Evaporator
- A/C Flow Restrictors
- Automatic Temperature Controls
- Blower Motor & Fan
- Brackets, Flanges & Hangers
- Condenser, Compressor & Lines
- Controls
- Evaporator & Heater Components
- Filters
- Gaskets & Sealing Systems
- Hardware, Fasteners & Fittings
- Heater
- Hoses & Pipes
- HVAC Case
- Motors, Core, Case & Related Components
- Sensors
- Switches & Sensors
- Switches, Solenoids & Actuators
- Wire, Cable & Related Components
- Brackets, Flanges & Hangers
- Control Modules
- Gaskets & Sealing Systems
- Hardware, Fasteners & Fittings
- P/S Pump & Hoses
- Power Steering Hoses, Pumps, & Related Components
- Pump & Hoses
- Shroud, Switches & Levers
- Steering Column
- Steering Column Assembly
- Steering Gear & Linkage
- Steering Wheel
- Steering Wheel & Trim
- Steering, Gear & Related Components
- Switches, Solenoids & Actuators
- Wire, Cable & Related Components
- Axle Housing
- Brackets, Flanges & Hangers
- Bushings
- Carrier & Front Axles
- Front Suspension
- Gaskets & Sealing Systems
- Hardware, Fasteners & Fittings
- Parking Brake
- Rear Suspension
- Ride Control
- Shocks & Struts
- Stabilizer Bar & Components
- Struts & Components
- Suspension Components
- Suspension, Springs & Related Components
- Upper Control Arm
- Wheels
No.
Part # / Description / Price
Price
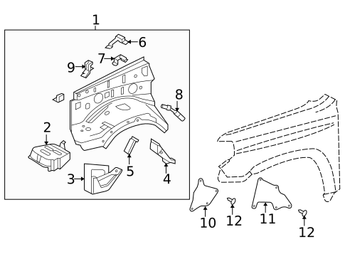
2
Support Bracket
Toyota
Toyota Positions: Right
Notes: PARTS: Part included with apron assembly.
MSRP $109.60
$90.93
MSRP $109.60
$90.93
2
Support Bracket
Toyota
Toyota Positions: Left
Notes: PARTS: Part included with apron assembly.
MSRP $99.79
$82.79
MSRP $99.79
$82.79
3
Mount Bracket
Toyota
Toyota Positions: Left
Notes: PARTS: Part included with apron assembly.
MSRP $148.53
$123.22
MSRP $148.53
$123.22
3
Mount Bracket
Toyota
Toyota Positions: Right
Notes: PARTS: Part included with apron assembly.
MSRP $148.53
$123.22
MSRP $148.53
$123.22
4
MSRP $31.09
$25.79
4
MSRP $31.42
$26.07
5
Apron Assembly Bracket
Toyota
Toyota Positions: Left
Notes: PARTS: Part included with apron assembly.
MSRP $9.96
$8.27
MSRP $9.96
$8.27
6
Reinforced Bracket
Toyota
Toyota Positions: Right
Notes: PARTS: Part included with apron assembly.
Description: Front.
MSRP $9.80
$8.13
MSRP $9.80
$8.13
6
Reinforced Bracket
Toyota
Toyota Positions: Left
Notes: PARTS: Part included with apron assembly.
Description: Front.
MSRP $9.80
$8.13
MSRP $9.80
$8.13
7
Reinforced Bracket
Toyota
Toyota Positions: Right
Notes: PARTS: Part included with apron assembly.
Description: Rear.
MSRP $12.45
$10.34
MSRP $12.45
$10.34
7
Reinforced Bracket
Toyota
Toyota Positions: Left
Notes: PARTS: Part included with apron assembly.
Description: Rear.
MSRP $12.45
$10.34
MSRP $12.45
$10.34
8
Side Extension
Toyota
Toyota Positions: Right
Notes: PARTS: Part included with apron assembly.
MSRP $18.11
$15.03
MSRP $18.11
$15.03
8
Side Extension
Toyota
Toyota Positions: Left
Notes: PARTS: Part included with apron assembly.
MSRP $18.11
$15.03
MSRP $18.11
$15.03
9
Reinforced Plate
Toyota
Toyota Positions: Left
Notes: PARTS: Part included with apron assembly.
MSRP $17.11
$14.20
MSRP $17.11
$14.20
9
Reinforced Plate
Toyota
Toyota Positions: Right
Notes: PARTS: Part included with apron assembly.
MSRP $17.11
$14.20
MSRP $17.11
$14.20
10
MSRP $39.24
$32.55
10
MSRP $36.08
$29.93
11
MSRP $35.75
$29.66